//www.czzhongye.com/product.php?cate=16一、安裝說明
根據泵的總圖和說明書所提供的安裝尺寸澆注基礎和確定地腳螺栓的位置,一般情況下不宜改變進口方向。
二、使用
|
故 障
|
原 因
|
排除方法
|
|
1.啟動困難
|
1.料液未充滿泵腔.摩擦阻力較大:
2.填料壓蓋壓得過緊.軸與填料之間有摩擦力矩過大。
|
1.用管子鉗搬動眹軸器泵主軸3?6轉:
2.調整填料壓蓋。
|
|
2.啟動后
不出料液
|
1.有大量空氣吸入:
2.電動機轉向不對: 3.料液粘度過大。
|
1.檢査吸入口液位是否太低.吸入管是否漏氣
2.調接電動機的任意兩相進線:
3.稀轉料液。
|
|
3.泵有較大的振動或噪音
|
1.電動機與泵軸不同心:
2.泵內吸入空氣或料液混有大量空氣-
|
1.重新調整同軸度:
2 .檢査料液位.設法排除吸入液中的空氣。
|
|
4.運行過程中.流量顯著下降
|
1.襯套磨損.間隙增大:
2.轉速降低:
3.萬向眹軸節或鐃軸損壞傳動失效:
4.吸入管路漫入液體深度不夠.有空氣逬入泵內^
|
1.更換襯套.必要時換螺桿:
2.査電源和電機:
3.停機檢修.更換軸朕軸節或繞軸:
4.滅小吸入高度.!曾加浸入深度.排除吸入料液中的空氣.
|
|
5.電動機超載
|
1.揚程超過泵的餳程過多:
2.料液粘度太大:
3.電壓太低.
|
1.盡量減小管路水頭損失.或更換高揚程泵。
2.稀釋料液:
3.檢査原因.提高電壓至規定值 。
|
|
6.軸封填料處大量漏液
|
1.壓蓋過松:
2.填料磨損:
3.進出口位置反。
|
1.調整壓蓋:
2.更換填料:
3.以中間法蘭口為吸入口。
|

|
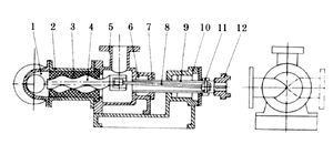
1
|
彎頭接管
|
5
|
三通泵體
|
9
|
空心泵軸
|
|
2
|
直筒
|
6
|
石棉填料
|
10
|
泵座
|
|
3
|
橡膠管
|
7
|
填料壓蓋
|
11
|
銷軸銷帽
|
|
4
|
8
|
繞軸
|
12
|
聯軸器
|